조끼 형태, 사고 시 지면과 가슴 공간 창출
2008년 정부 주최 발명 대회서 수상 경력
현재 특허 말소 상태, 연구 개발 인용 없어
전문가 "지금이라도 투자해 개발 이어가야"

이태원 참사를 부른 압사 사고와 같은 유형의 사고를 방지하기 위한 일명 압사 방지복이 10년 전 국내 대학생에 의해 발명돼 특허까지 신청된 것으로 확인됐다.
15일 여성경제신문 취재에 따르면 2012년 당시 전북대 기계공학과 출신 유찬우 씨가 발명한 압사 방지복이 특허청에 출원됐다. 특허 내용을 보면 압사 방지복은 '사고 현장에 긴급 대응이 필요한 관계자, 특히 소방관을 위해 개발된 것'이라고 명시됐다.
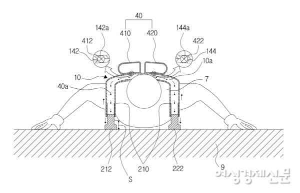
압사 방지복은 조끼처럼 착용할 수 있도록 설계됐다. 등 뒤쪽엔 무게와 실용성을 고려해 산소통이 납작한 네모 형태로 부착됐다. 또한 엎드린 자세로 압사당했을 때 가슴과 지면의 공간 확보를 위해 유압식으로 상하로 움직이는 지지대가 부착됐다.
압사가 발생하면 이를 인지해 유압식 지지대가 땅을 밀어내면서 피해자의 가슴과 지면 사이 공간을 확보한다. 산소통을 통해 피해자는 산소도 공급받을 수 있다. 또한 등 쪽에 부착된 납작한 형태의 산소통은 피해자의 등에 눌리게 될 압사 유발 물체로부터 방어할 수 있다.
앞서 2008년 교육과학기술부, 특허청, 한국발명진흥회 주최로 열린 ‘제8회 전국 대학 발명 경진대회’에서도 유씨는 압사 방지복 공개를 통해 교과부 장관상인 금상을 받기도 했다. 당시 한 언론과 인터뷰에서 유씨는 "대형 사고에서 소방관의 순직 소식을 들을 때마다 마음이 정말 아팠다"며 "건물 붕괴로 목숨을 잃는 소방관의 안전을 생각하다 이 발명품을 고안했다"고 전했다.

현재 특허청에 공개된 압사 방지복의 법정상태는 등록료를 납부하지 않은 이유로 '소멸'됐다. 특허가 등록된 이후 국가연구개발사업에 인용된 사례도 없었다. 대부분 실용성이 있는 특허가 공개되면 기업이나 국가가 연구개발 사업에 포함해 특허 사례를 발전시키는데 압사방지복은 특허 공개 이후 감감무소식인 상황이다.
특허청 관계자는 본지와 통화에서 "압사 방지복에 대한 행정처리 사항은 2010년 2월 11일 특허출원서 수리 이후 2012년 5월 7일 등록결정서 발송처리까지만 기록된 상황"이라며 "이후 등록료가 납부되지 않아 특허 존속기간이 만료돼 특허권이 소멸한 것으로 보인다"고 전했다.
특히 유씨가 발명한 압사 방지복은 전 세계 최초 사례인 것으로 알려졌다. 일각에선 최근 이태원 사고로 압사 사고에 대한 관심도가 높아진 만큼 압사 방지복을 재구성해 상품화할 필요가 있다는 목소리가 나온다.
정상만 한국재난안전기술원 원장은 본지와 통화에서 "압사 방지복의 구체적 기술 및 발전시킬 수 있는 정도는 확인해 봐야 하겠지만 압사당했을 때 환자를 보호할 수 있다면 적극적으로 발명품에 대한 개발을 이어가야 할 필요가 있다. 발명 후 10년이 지난 만큼 기술적 측면에서도 해당 발명품을 축소화 및 실용화할 수 있을 것"이라고 말했다.

